|
|
|
|
PUNANE RET
Andmed mudelite ja toodangumahtude kohta pärinevad tehase Punane Ret peakonstruktori 1968-93 Enn-Olav Remmelga
käsikirjalisest materjalist, mis on hoiul Eesti Ringhäälingumuuseumis,
ja Jüri Raudseppalt.
|
 |
661, VV-661, VV-662, VV-663, VV-663-2 - II klassi raadiovastuvõtjad
1945-55 kokku 156 032 eksemplari:
1945 - 19*
1946 - 372*
1947 - 2127
1948 - 8579
1949 - 9880
1950 - 15 907
1951 - 20 709
1952 - 27 019
1953 - 26 250
1954 - 25 559
1955 - 19 611
*1945. ja 1946. a-l valmistati juhuslikke ja katseaparaate. VV-661 läks ametlikult tootmisse mais 1947, kui valmis esimene
100 aparaadist koosnev prooviseeria.
|
Mõned leheküljed raadiotehase Punane Ret aastaaruannetest 1946 ja 1947:
1946. a. aruandele lisatud selgitus (1 lk) ja 1946. a. toodang (sh 1945. a. andmed, 1 lk);
1947. a. aruandele lisatud selgitus (3 lk) ja 1947. a. toodang (sh 1946. a. andmed, 1 lk);
Rahvusarhiiv, Eesti Vabariigi Riiklik Statistikaamet, ERA.R-10.9.86 ja ERA.R-10.9.147
|
 |
|
Tüüp 661
Nr 0025
1946?
Arvatavasti 1946. a-l valmistatud eelseeria. Võrreldes 1947. a. mais tootmisse läinud VV-661 tavaversiooniga on olulisi erinevusi
nii disainis kui konstruktsioonis. Raadiol on samasugune skaala.
A. H. Tammsaare majamuuseumi ekspositsioonis,
Tallinna Linnamuuseumi kogu.
|
 |
Mudel: VV-661
Toide: võrk
Lambid: 6
Lainealad:
Võnkeringid:
Hind:
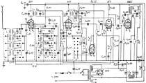
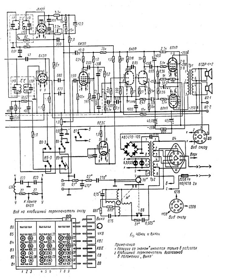
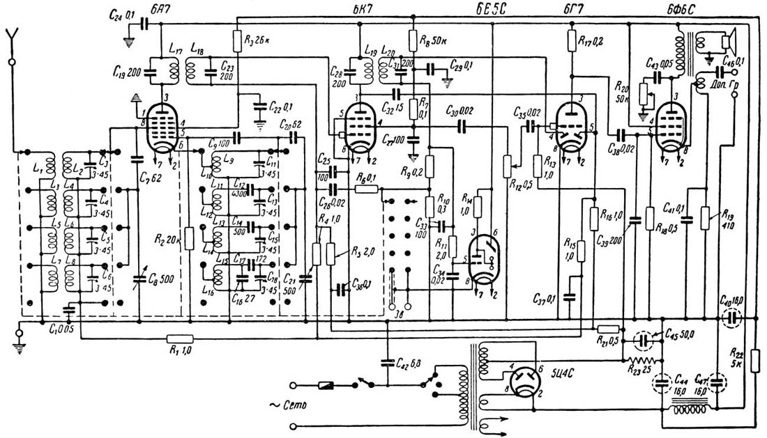
VV-661 skeem
Vitali Brusnikin /via Sergei Davidchik/
|
|
VV-661
Nr 423
1947
Skaalal Reti sõjaeelne "tiibadega" logo.
Kolm nuppu vahetatud, tagasein puudub.
Fotod: elravel[ät]hot.ee
|

VV-661
Nr 1075
1947
Skaalal Reti sõjaeelne "tiibadega" logo.
Tartu Linnamuuseumi kogu.
|

VV-661
Nr 2013
1947?
Omanik: vana.raadio[ät]hot.ee
|
 |
VV-661
Nr 3228
1948?
Omanik: Sergei Davidchik, Läti
oldradio[ät]inbox.lv
|
|

VV-661
Nr 10614
1948
Erakogu.
|
 |
Mudel: VV-662
Toide: võrk
Lambid: 6
Lainealad:
Võnkeringid:
Hind:
|
 |

VV-662
Nr 0376?
Aparaat nn. esimesest seeriast (kast sarnane VV-661-le).
Eesti Ringhäälingumuuseumi kogu.
|

VV-662
Nr 1116
Nn. esimene seeria.
Omanik: Zenonas Langaitis, Leedu
Zenonas Langaitis - Radiomuseum
|

VV-662
Nr 2467
Nn. teine seeria.
Haruldasem eestikeelsete jaamanimedega skaalaga aparaat.
Erakogu.
|

VV-662
Nr 4202
Nn. teine seeria.
Eestikeelsete jaamanimedega skaalaga aparaat.
Omanik: vana.raadio[ät]hot.ee
|

VV-662
Nr 23019
Nn. teine seeria.
Enamlevinud skaalaga aparaat.
Erakogu.
|
 |
VV-662
Nr 29115
Nn. teine seeria.
Enamlevinud skaalaga aparaat.
Omanik: Sergei Davidchik, Läti
oldradio[ät]inbox.lv
|
 |
Mudel: VV-663
Toide: võrk
Lambid: 6
Lainealad:
Võnkeringid:
Hind:
|
 |
Mudel: VV-663-2
Toide:
Lambid:
Lainealad:
Võnkeringid:
Hind:
|

VV-663-2
Nr 48462
Omanik: faradoy[ät]gmail.com |

VV-663-2
Nr C75513
Kistler-Ritso Eesti Sihtasutuse kogust. |

VV-663-2
Nr C75850
Omanik: Sergei Davidchik, Läti
oldradio[ät]inbox.lv
|
 |
TALLINN P-2 - patareivastuvõtja
1950-52 kokku 16 301 eksemplari:
1950 - 4116
1951 - 11 528
1952 - 657
Mudel: TALLINN P-2
Toide: patarei
Lambid:
Lainealad: 2
Võnkeringid:
Hind:
|

TALLINN P-2
Nr 04871
Kistler-Ritso Eesti Sihtasutuse kogust.
|

TALLINN P-2
Nr 06292
Mõnevõrra muudetud disainiga kastis.
Omanik: vana.raadio[ät]hot.ee
|

TALLINN P-2 kolme lainealaga prototüüp PV461
|
 |

ESTONIA - raadiovastuvõtja
1955-56 kokku 1169 eksemplari
|

ESTONIA
1956
Nr 01169
Tõenäoliselt viimane Estonia raadiovastuvõtja!!
Erakogu. |
 |
ESTONIA (55) - radioola
1956-59 kokku 40 022 / 40 212 eksemplari:
(1955 - 3)
1956 - 8505
1957 - 12 200
1958 - 15 202
1959 - 4111
|

ESTONIA (55) radioola
Nr C04231
Erakogu. |

ESTONIA (55) radioola
Nr C09990
Omanik: Zenonas Langaitis, Leedu.
Zenonas Langaitis - Radiomuseum |
 |
ESTONIA-2 - radioola

1958-62 kokku 63 861 eksemplari:
1958/59 - 10 917
1960 - 16 890
1961 - 18 179
1962 - 17 875
|


ESTONIA-2 radioola
Nr 10812
Erakogu.
|
 |
ESTONIA-3 - radioola
1962-64 kokku 23 717 eksemplari:
1962 - 662
1963 - 18 011
1964 - 5044
|

|

ESTONIA-3 radioola
1964
Nr 789
Omanik: urti[ät]hot.ee - Raadiomuuseum
|
 |
ESTONIA-3M - radioola
1964-66 kokku 59 224 eksemplari:
1964 - 13 541
1965 - 25 317
1966 - 20 366
|

ESTONIA-3M radioola
Eesti Ringhäälingumuuseumi kogu.
|
 |
ESTONIA-4 - radioola
1966-70 kokku 61 683 eksemplari:
1966 - 3884
1967 - 18 013
1968 - ?
1969 - ?
1970 - ?
Teadaolevad radioolad Estonia-4:
Estonia-4E, Nr 00916-S (1966?, ingliskeelne skaala, eksportvariant?)
Estonia-4, Nr 03371-S (1966)
Estonia-4, Nr 56349-S (1969/70?)
|

ESTONIA-4E
(komplekt: eri aparaatide skaala (4E), kõlar ja shassii)
Erakogu: www.hot.ee/retroraadio
|
 |
ESTONIA-STEREO - radioola
1969-73 kokku 34 474 eksemplari
|

ESTONIA-STEREO radioola
Omanik: urti[ät]hot.ee - Raadiomuuseum
|
 |
Punane Ret tootis veel:
reproduktorid - 1946-49 kokku 15 742
ESTONIA-006-STEREO - radioola 1972-78 kokku 94 857
ESTONIA-008-STEREO - radioola 1978-82 kokku 45 263
REGATT (1980) - raadiosuveniir
ESTONIA-009-STEREO - radioola 1981-84 kokku 30 436
ESTONIA-010-STEREO - vastuvõtja 1982-92 kokku 13 121
ESTONIA-010-STEREO - eelvõimendi 1982-92 kokku 35 347
ESTONIA-010-STEREO - plaadimängija 1982-92 kokku 29 762
ESTONIA-010-STEREO - võimsusvõimendi 1985-92 kokku 34 896
25AS 021 - akustiline süsteem 1985-90 kokku 73 398
RAHU - raadiosuveniir 1986-92 kokku 238 331
ESTONIA-001-C - laserplaadimängija 1987-89 kokku 2454
|
|
 |
|
|
REGATT, 1980. aasta olümpiamängude purjeregati puhul toodetud suveniirvastuvõtja.
Omanik: urti[ät]hot.ee - Raadiomuuseum |
|
|
 |
|
|
 |
|
|
RAHU 87 (maakaardiga), RAHU 87 (tähekaardiga) ja RAHU (elektroonilise kellaga) suveniirvastuvõtjad.
Omanikud: Zenonas Langaitis, Leedu; elravel[ät]hot.ee; Sergei Frolov
Zenonas Langaitis - Radiomuseum
www.rk86.com/frolov |
|
|
|
|
 |
Punase-RETi tehase juubelimärgid. Kokku 5 märki, 1960-1985 (välja arvatud 1970). Anti tehase töölistele ja veteranidele.
Vasakul: märgid Vassili Rõbini kogust; paremal: heiki.ahonen[ät]mail.ee
|
 |
Vasakul Punase-RETi tehasemärgid. Paremal Punase-RETi suveniirmärgid, mida jagati näiteks näitustel, koostööpartneritele, külalistele.
Esimene: heiki.ahonen[ät]mail.ee; ülejäänud märgid Vassili Rõbini kogust
|
 |
Vasakul Punase-RETi tööveterani märk. Paremal Punase-RETi mälestusmedal "Võetakse töölisklassi ridadesse", mida anti noortele töötajatele.
Märk ja medal Vassili Rõbini kogust
|
|
 |
|
| raadiotuba[ät]hot.ee |
|
|